裝配式熱電阻
發布時間:2026-01-20 ???
瀏覽次數:
一、概述
WZP-2312A(WZP-2316A、WZP-4312A、WZP-4316A)型裝配式熱電阻作為溫度測量傳感器采用引進鉑電阻元件作為測溫元件,通常用來和顯示、記錄、調節儀表配套,直接測量各種生產過程中從-200~500℃ 范圍內的液體、蒸氣和氣體介質以及固體等表面溫度。
WZP-2312A(WZP-2316A、WZP-4312A、WZP-4316A)型裝配式熱電阻是由感溫元件、不銹鋼外保護管、接線盒以及各種用途的固定裝置組成,產品有雙支和單支元件兩種規格,雙支鉑電阻可以同時輸出二組相同電阻信號供使用。
WZP-2312A(WZP-2316A、WZP-4312A、WZP-4316A)型裝配式熱電阻是一種溫度傳感器,它是利用鉑絲在溫度變化時自身電阻也隨著變化的特性來測量溫度的,不銹鋼保護管采用直徑φ12mm或者φ16mm,材質有304、316L等材質,不但具有抗腐蝕性能,而且具有足夠的機械強度,保證鉑電阻能安全地使用在各種場合。
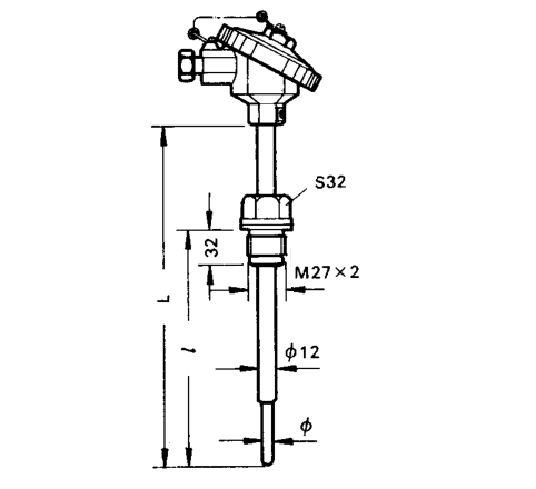
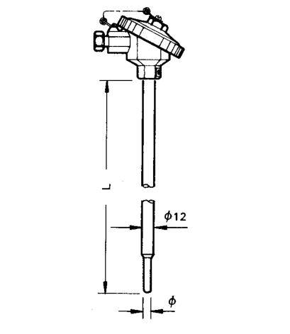
WZP-2312A(WZP-2316A、WZP-4312A、WZP-4316A)型裝配式熱電阻安裝固定裝置有固定螺紋、活動法蘭盤、固定安裝法蘭盤和帶固定螺栓錐形保護管裝置等形式。由于熱電阻傳感器采集溫度點在桿端部位置,為了保證熱傳遞采集速度以及檢測需要在傳感器的端部采用縮徑異徑測溫方式,一般桿端采用φ8mm或者φ6mm的測溫端。
二、主要技術指標
熱電阻感溫元件在 0℃時的電阻值(R。)
分度號Pt100:A級R。=100士0.06Ω
B級R。=100±0.12Ω
三、量程規格:
|
型號 |
分度號 |
測溫范圍℃ |
精度等級 |
允許偏差△t℃ |
|
WZP |
PT100 |
-200~+500 |
A級 |
-200~650℃時允差±(0.15+0.002|t|) |
|
B級 |
-200~800℃時允差±(0.30+0.005|t|) |
注:“t”為感溫元件實測溫度絕對值。
四、裝配式熱電阻產品選型:
|
型號 |
型譜代碼說明 |
|
WZP |
Pt100 鉑電阻 熱電阻 |
|
|
代碼 |
測溫芯片元件數量 |
|
1 |
單支 |
|
2 |
雙支 |
|
|
代碼 |
連接形式 |
|
1 |
無固定連接 |
|
2 |
固定螺紋連接 |
|
3 |
活動法蘭連接 |
|
4 |
固定法蘭連接 |
|
6 |
固定螺紋錐形式 |
|
|
代碼 |
接線盒形式 |
|
3 |
防水型 |
|
4 |
隔爆型 |
|
|
代碼 |
套管直徑 |
|
0(16) |
φ16mm |
|
1(12) |
φ12mm |
|
T |
特殊說明 |
|
|
代碼 |
設計序號 |
|
A |
異徑傳感器 |
|
|
代碼 |
傳感器尺寸(mm) |
|
L/l |
總長/插深 |
五、產品連接形式介紹
1、無固定裝置式
|
型號 |
分度號 |
測溫范圍℃ |
精度等級 |
熱響應時間τ0.5s |
長度L(mm) |
接線盒形式 |
|
WZP-1212A |
Pt100 |
-200~500 |
A級 |
<45 |
150~1200 |
防濺式 |
|
WZP2-1212A |
|
WZP-1312A |
防水式 |
|
WZP2-1312A |
注:保護管材質:1Cr18Ni9Ti PT100為三線制 鎧裝形
2、固定螺紋式
|
型號 |
分度號 |
測溫范圍℃ |
精度等級 |
熱響應時間τ0.5s |
長度L(mm) |
接線盒形式 |
|
WZP-2212A |
Pt100 |
-200~500 |
A級 |
<45 |
225*75
250*100
300*150
。。。。。。
1350*1200 |
防濺式 |
|
WZP2-2212A |
|
WZP-2312A |
防水式 |
|
WZP2-2312A |
|
WZP-2412A |
隔爆型 |
|
WZP2-2412A |
注:保護管材質:1Cr18Ni9Ti PT100為三線制 鎧裝形
3、固定法蘭式
|
型號 |
分度號 |
測溫范圍℃ |
精度等級 |
熱響應時間τ0.5s |
長度L(mm) |
接線盒形式 |
|
WZP-4212A |
Pt100 |
-200~500 |
A級 |
<45 |
225*75
250*100
300*150
。。。。。。
1350*1200 |
防濺式 |
|
WZP2-4212A |
|
WZP-4312A |
防水式 |
|
WZP2-4312A |
|
WZP-4412A |
隔爆型 |
|
WZP2-4412A |
注:保護管材質:1Cr18Ni9Ti PT100為三線制 鎧裝形